Feedback

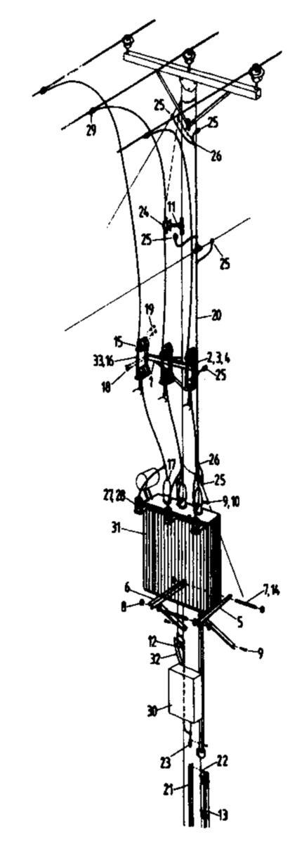
EBR 3020
KONSOL 3020-03 H+V
Artikelnummer: Lev. artikelnr:
0638010
3469513
för att se saldo och pris
Beställs separat:
- Artikelnummer: 0638010
- Lev. artikelnr: 3469513
- Materialklass QB410A
Teknisk data
- Övriga förp.storlekar: 1 ST/20 ST