Feedback

Ensto
EBR 0171
EBR-SATS 0171
Artikelnummer: Lev. artikelnr:
0601710
SHS1171
för att se saldo och pris
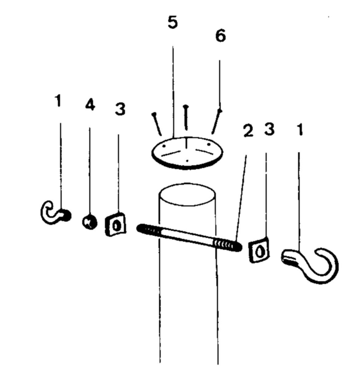
Gängkroksats. Med två krokar. Inklusive stolptak 210. Pinnskruv 20x210 mm.
- Artikelnummer: 0601710
- Lev. artikelnr: SHS1171
- Ean artikelnr: 6418677434235
- Materialklass QB410A
Teknisk data
- Övriga förp.storlekar: 1 ST/150 ST
- Vikt: 2.2 kg