Feedback
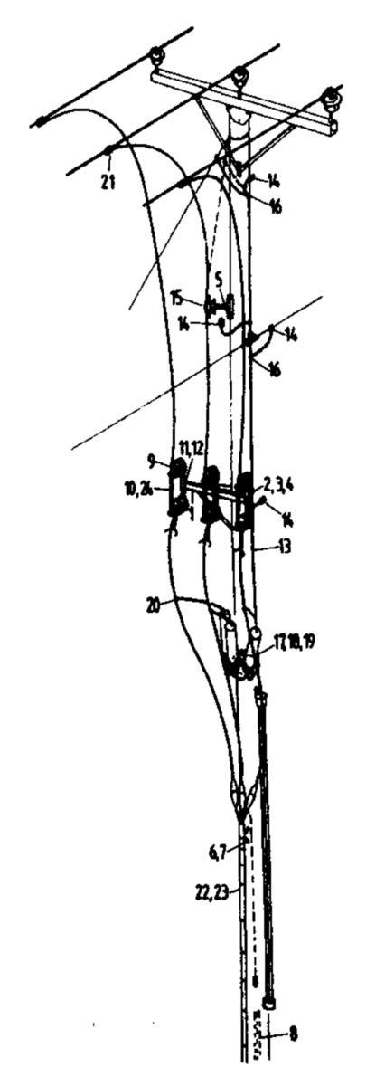
AhlsellProductsElectricMains power supply equipment 06-0906 EBR and Function setsOverhead transmission line 12-24kV

EBR 3022
MTRL-KIT 3022
Article number:
0603122
to see price and stock
Sold separately:
- Article number: 0603122
- Material class QB991A
Technical data